(8) Bandreiniging voorspanning bandstabiliteit
Bepaling van overgangslengte overgangsbogen bandreiniging -
kopafstrijkers, ploegafstrijkers trapezium afstrijkers
Vochtige omstandigheden Voorspanning
- schroefspindel-spaninrichting - spangewicht
Langzaam lopende transportbanden Bandstabiliteit
Bepaling van overgangslengte eindtrommel / trogstel
De afstand tussen eindtrommel en eerste trogstel is, in verband met grote spanning in de randen van de transportband ter plaatse, aan een minimum afstand gebonden, die aan tabel 21 kan worden ontleend.
Overgangsbogen
Bij overgang van hellend naar horizontaal transport of omgekeerd dienen speciale voorzorgen te worden genomen om een goede loop van de transportband te bereiken.
Bij overgang van horizontaal naar stijgend dient de overgangsboog zodanig te worden gekozen, dat de transportband, ook in de ongunstigste situatie op de rollen blijft rusten. Zowel de bandenspanning ter plaatse Tn (in kg) als het bandgewicht GB kg/m1 spelen hierbij een rol.
Welke opstelling van aandrijftrommels en spantrommels
wordt toegepast, wordt bepaald door eisen, die gesteld worden t.g.v.
aansluitend transport, bandenspanning en bedrijfszekerheid.
Hoe groter de omspannen boog, hoe lager de bandenspanning.
Bij een twee trommelaandrijving is de totale omspannen
boog groter dan 360 ° waardoor een aanzienlijk lagere bandenspanning
ontstaat dan bij één-trommelaandrijving.
Dit laatste is vooral belangrijk bij lange, zwaarbelaste banden.
Bandreiniging
Om verlies van het te transporteren materiaal zoveel mogelijk
te voorkomen, en daarmee onnodige slijtage van de band, dient aan afstrijkers
de nodige aandacht te worden besteed.
Als strijkmateriaal adviseren wij Ropan, dat dankzij zijn slijtvaste
eigenschappen bijzonder goede resultaten geeft.
Bij de aandrijftrommel wordt een z.g.n. kopafstrijker gemonteerd, terwijl
voor de keertrommel een ploegafstrijker meestal de beste resultaten
geeft en voorkomt, dat materiaal tussen band en trommel komt.
Er dient op gelet te worden, dat het afgestreken materiaal goed kan
worden afgevoerd.
Ook kan gebruik gemaakt worden van borstelinstallaties.
Onze desbetreffende documentatie geeft u verdere informatie.
Een kopafstrijker dient altijd zo geplaatst te worden, dat het afstrijkmateriaal loodrecht op de band staat.
Geheel nieuw is onze gepatenteerde trapezium afstrijker.
Deze afstrijker is op de plaats waar het materiaal op de band ligt het dikste. Hierdoor ontstaat een gelijkmatige slijtage van de afstrijker, waardoor de band langer effectief wordt gereinigd. Vraagt onze speciale documentatie hierover.
Vochtige omstandigheden
Er kan in het algemeen gesteld worden, dat alle transportbanden
met synthetische weefsellagen in droge toestand bij een goede voorspanning
rekvrij zijn. Onder synthetisch weefsel verstaat men in dit verband
polyester. Polyester heeft het grote voordeel dat het geen vocht opneemt
en daardoor geen lengte veranderingen ondergaat bij wisselende vochtigheid.
Nylon kan daarentegen veel vocht opnemen en kan dan gaan rekken. Bij
installaties waar een nauwkeurige bandlengte is vereist. komen daarom
alleen banden met polyester inlagen in aanmerking.
Katoen is zeer gevoelig voor vocht, zodat in katoenen inlagen bij vochtinwerking
overmatige rek kan optreden met alle gevolgen van dien. Het is daarom
raadzaam banden met katoenen inlagen van een automatische spaninrichting
te voorzien, zodat steeds een goede bandenspanning aanwezig is. Er dient
uiteraard rekening mee te worden gehouden, dat de band aan beide zijden
gelijkmatig wordt gespannen.
Een spaninrichting moet bij banden met katoenen inlagen 3% van de bandlengte
kunnen compenseren en bij polyester inlagen 2%.
Een extra, dus grotere, voorspanning kan noodzakelijk zijn om 'kruip'
te voorkomen, maar ook in geval van kritische trommeldiameters, d.w.z.
als de diameter van de aandrijftrommel te klein is voor de over te brengen
kracht (zie tabel 18). Transportbanden mogen nooit zwaarder belast worden
dan 10% van hun breeksterkte. Bij zwaardere belasting treedt grote rek
op, terwijl tevens ernstige bandslijtage zal ontstaan.
Voorspanning
Zoals reeds is opgemerkt, dient een transportband met voorspanning te worden gemonteerd om de vereiste krachten te kunnen overbrengen.
De voorspanning is afhankelijk van:
a. de belasting van de band
b. de band kwaliteit
Transportbanden met katoenen inlagen zijn alleen rekvrij
indien zij met een voorspanning van 2% worden gemonteerd.
Bij banden met polyester inlagen is dit 1%. In bovenstaande grafieken
is aangegeven welke krachten in transportbanden ontstaan door het geven
van een bepaalde voorspanning.
De grootte van deze voorspanning is o.a. van belang bij de berekening
van de lagering en de assen van de eindtrommels
Hiervoor werd reeds opgemerkt, dat de voorspanning mede afhankelijk
is van de bandbelasting. Deze bandbelasting bepaalt ook de over te brengen
kracht P tussen band en
aandrijftrommel (zie o.a. wat hierover op pag 26
en 27 is opgemerkt) De minimaal vereiste voorspanning kan met de
volgende formule worden bepaald.
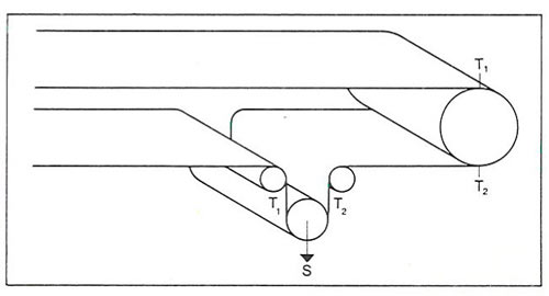
Hierin is:
S = vereiste minimale voorspankracht.
T2 = bandspanning ter plaatse van het aflopen van de band van de aandrijftrommel.
P = omtrekskracht op aandrijftrommel of over te brengen kracht van trommel naar band.
e µ alfa =
e is grondgetal van de natuurlijke logaritme
µ is de wrijvingscoëfficiënt tussen band en trommeloppervlak
alfa is omspannen boog aan de aandrijftrommel.
De waarden van e µ alfa vindt u in tabel
8.
Langzaam lopende banden - Bandstabiliteit
Voorbeeld van een schroefspindel-spaninrichting
Meestal zal de waarde S kleiner zijn dan de krachten,
die optreden bij de respectievelijk hiervoor genoemde 2 en 1% voorspanning.
Bij banden met een slechts zeer geringe belasting is de volgens de formule
berekende voorspanningswaarde niet meer maatgevend. In zulke gevallen
treedt kruip op, waardoor een overmatige rek ontstaat.
De rekpercentages kunnen oplopen tot 4 à 6%. Door de band met
geringe belasting te monteren met ca 1% voorspanning wordt het probleem
van kruip ondervangen.
Om de band op de vereiste spanning te brengen zijn diverse methoden te gebruiken.
Met schroefspindels
Hierbij wordt de spantrommel verplaatst d.m.v. schroefspindels. Het
is de meest voorkomende methode.
Het nadeel van dit spansysteem is de controle op de aangebrachte bandenspanning.
Langzaam lopende banden
Bij erge lage bandsnelheden worden bandspanningen vaak erg hoog. Op
dit verschijnsel dient men zeer attent te zijn, o.a. bij de bepaling
van de trommeldiameters.
Indien trommeldiameters worden toegepast. die voor de over te brengen
kracht te klein zijn kan een frictiebekleding op de trommel worden aangebracht
waardoor de wrijving tussen band en trommel sterk toeneemt.
Hierdoor wordt de bandenspanning in belangrijke mate verlaagd. Mocht
dit niet voldoende effect hebben dat dient de voorspanning te worden
verhoogd.
Bandstabiliteit
Het is niet alleen belangrijk dat een band een bepaalde treksterkte
bezit, ook de stabiliteit kan van belang zijn.
Bij onvoldoende stabiliteit kan vooral bij gedeeltelijke belading plooivorming
in de band ontstaan.
Bij de bandkeuze dient ook dit facet te worden beoordeeld.
Onze transportbanden-documentatie geeft ook hierover uitsluitsel
Transportinstallatie met spangewicht.











