(6) Band ondersteuning tussen de eindtrommels
Draagrollen: Bepaling van het aantal draagrollen en de diameter.
Relatie valhoogte van het materiaal horizontale afstand t.o.v. het afwerppunt,
afstorthoek en snelheid.
Ondersteuning van de transportband
Tussen de eindtrommels dient de band ondersteund te worden.
We onderscheiden hier:
a. het beladen deel
b. het retourgedeelte
Het beladen deel kan ondersteund worden door draagrollen, al of niet
in trogvorm of door ondersteuning.
Bij het transport van los gestorte materialen wordt in
het algemeen een rolondersteuning toegepast en dan meestal in trogvorm.
Bij stukgoed transport wordt of rolondersteuning of plaat ondersteuning
toegepast. Bij rolondersteuning is de weerstand kleiner en zal t.o.v.
plaat ondersteuning dus met een lichtere band en kleiner motorvermogen
kunnen worden volstaan.
Dit is vooral belangrijk bij lange banden.
De glij-ondersteuning heeft daarentegen het voordeel, dat de goederen
stiller op de band liggen en beïnvloeding door de draagrollen optreedt,
en dat, in het algemeen, de transportinstallatie minder geluid produceert.

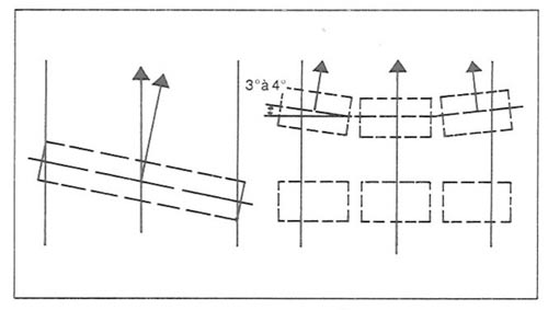
In de tekening hiernaast staat de sturende werking van
een draagrol aangegeven. Ditzelfde geldt voor trogstelondersteuning.
Bij drie-delige trogstellen hebben we nog een andere mogelijkheid om
de bandloop gunstig te beïnvloeden, nl. door schuinstelling van
de twee zijrollen. Dit kan alleen bij banden met één draairichting
worden toegepast.
Meestal wordt 20% van het aantal trogstellen corrigerend uitgevoerd. Ook bij toepassing 3-delige trogstellen met 20% in corrigerende uitvoering, blijft de eis van verstelbaarheid in het horizontale vlak een vereiste.
Bij glijplaat ondersteuning geldt dit stuureffect in
mindere mate, maar bij bv. houten ondersteuning dient men er op te letten,
dat de houtnerf de band niet naar één kant stuurt m.a.w.
men dient de ondersteuning zo te maken, dat sturende invloeden van de
houtnerf worden gecompenseerd door de ondersteuningslatten om en om
te leggen.
Draagrollen

Rubber transportband voor het transport van kolen.
Bandondersteuning d.m.v. drie-delige-trogstellen.
In ons programma is een groot aantal draagrollen opgenomen.
Voor verdere selectie, ook met betrekking tot de toelaatbare belastingen,
afdichtingen en toelaatbare axiale belastingen verwijzen wij naar de
betreffende documentatie.
De afstand van de draagrollen is afhankelijk van de doorbuiging van
de transportband tussen twee rollen. Deze doorbuiging mag niet groter
zijn dan 1% van de draagrol afstand.
De afstanden kunnen als volgt worden berekend:
Hierin is:
Tn de bandspanning, in kg, op een willekeurige plaats in de band en
ligt in grootte tussen T1 en T3
GB het gewicht van de transportband in kg/m1
Gp het gewicht van het product in kg/m1
I de afstand h.o.h. van de draag-resp. retourrollen.
Als vuistregel kan worden aangehouden, dat de draagrol
afstand in het beladen deel ongeveer gelijk dient te zijn aan de bandbreedte
met een maximum van 1,2 m, terwijl de afstand van de retourrollen kan
variëren van 2 tot 3 m.
Op de beladingspunten worden de draagrollen
op kortere afstanden geplaatst om een zo goed mogelijke band ondersteuning
te bereiken (200-400 mm)
Bij het transport van stukgoederen wordt de draagrol afstand
in hoofdzaak bepaald door de lengte-afmetingen van het stukgoed. Streef
er naar het stukgoed steeds door minstens 2 draagrollen te laten ondersteunen.
Draagrollen met bufferringen worden toegepast op de beladingspunten,
om de val van het materiaal te breken en daardoor de levensduur van
de band te bevorderen. Het is duidelijk dat dit vooral bij materialen
met grote afmetingen belangrijk is. Draagrollen met steun- en/of spiraalringen
worden toegepast als retourrollen, wanneer het te transporteren materiaal
aan de band blijft plakken en daardoor aankoeken van het materiaal aan
de retourrol kan ontstaan, hetgeen het recht lopen van de band nadelig
beïnvloedt. In onze betreffende documentatie staat aangegeven hoeveel
ringen bij een bepaalde bandbreedte dienen te worden toegepast.







